Hood & Components for 1998 Mercedes-Benz E430
Vehicle
1998 Mercedes-Benz E430
Change Vehicle
- Aero Ground Effects & Body Kits
- Brackets, Flanges & Hangers
- Bumper
- Bumper & Components - Front
- Bumper & Components - Rear
- Cluster & Switches
- Console
- Control Cables
- Control Modules
- Cowl
- Dashboard
- Door
- Door & Components
- Doors
- Ducts
- Exterior Trim - Fender
- Exterior Trim - Front Door
- Exterior Trim - Pillars
- Exterior Trim - Quarter Panel
- Exterior Trim - Rear Door
- Exterior Trim - Roof
- Exterior Trim - Trunk
- Fender & Components
- Fenders
- Floor
- Floor & Rails
- Frame
- Front Door
- Front Seat Components
- Gaskets & Sealing Systems
- Glass - Front Door
- Glass - Rear Door
- Glass - Windshield
- Glass & Hardware - Back
- Glass, Windows & Related Components
- Glove Box
- Grille
- Grille & Components
- Hardware, Fasteners & Fittings
- Hood
- Hood & Components
- Horns
- Information Labels
- Inner Structure
- Instrument Panel
- Interior Trim
- Interior Trim - Front Door
- Interior Trim - Pillars
- Interior Trim - Quarter Panels
- Interior Trim - Rear Body
- Interior Trim - Rear Door
- Interior Trim - Roof
- Interior Trim - Trunk
- Labels
- Lid & Components
- Lock & Hardware
- Master Cylinder - Components On Dash Panel
- Mirrors
- Outside Mirrors
- Quarter Panel
- Quarter Panel & Components
- Radiator Support
- Rear Body
- Rear Door
- Rear Floor & Rails
- Rear Seat Components
- Reveal Moldings
- Rocker Panel
- Roof
- Roof & Components
- Seat Belt
- Seats
- Sensors
- Side Pillar
- Sound System
- Splash Shields
- Steering Wheel
- Structural Components & Rails
- Sunroof
- Switches, Solenoids & Actuators
- Tracks & Components
- Trunk Lid & Compartment
- Uniside
- Universal
- Vacuum Controlled Components
- Wiper & Washer Components
- ABS Components
- Anti-Lock Brakes
- Brackets, Flanges & Hangers
- Brake Components
- Brake Hydraulics
- Disc Pads & Brake Shoes
- Drums & Rotors
- Front Brakes
- Gaskets & Sealing Systems
- Hardware, Fasteners & Fittings
- Hoses & Pipes
- Hydraulic System
- Parking Brake
- Rear Brakes
- Relays
- Sensors
- Service Kits
- Stability Control
- Traction Control
- ABS Components
- Air Bag Components
- Air Bag System
- Alarm System
- Alternator
- Alternator/Generator & Related Components
- Antenna & Radio
- Anti-Theft Components
- Anti-Theft System
- Battery
- Battery & Related Components
- Brackets, Flanges & Hangers
- Bulbs - Chassis
- Control Modules
- Door
- Electrical Components
- Electrical Sockets
- Flasher Units, Fuses, & Circuit Breakers
- Fog Lamps
- Front Seat Belts
- Fuse & Relay
- Gaskets & Sealing Systems
- Glass, Windows & Related Components
- Hardware, Fasteners & Fittings
- Headlamp Components
- Headlamp Washers/Wipers
- Heated Seats
- High Mounted Stop Lamp
- Horn
- Ignition Lock
- Ignition System
- License Lamps
- Lighting - Exterior
- Lighting - Instrumentation
- Lighting - Interior
- Mirrors
- Mobile Multi-Media
- Power Outlets
- Power Seats
- Powertrain Control
- Rear Door
- Rear Seat Belts
- Relays
- Ride Control Components
- Senders
- Sensors
- SIDE MARKER LAMPS
- Signal Lamps
- Starter
- Starter & Related Components
- Steering Wheel
- Sunroof
- Switches
- Switches, Solenoids & Actuators
- Tail Lamps
- Trunk
- Voltage Regulator
- Washer Components
- Wipers
- A/C Accumulator/Receiver Drier
- A/C Clutch & Compressor
- A/C Condenser & Evaporator
- A/C Flow Restrictors
- Automatic Temperature Controls
- Blower Motor & Fan
- Brackets, Flanges & Hangers
- Condenser Fan
- Condenser, Compressor & Lines
- Evaporator & Heater Components
- Filters
- Hardware, Fasteners & Fittings
- Heater
- Heater Components
- Hoses & Pipes
- HVAC Case
- Information Labels
- Motors, Core, Case & Related Components
- Sensors
- Switches, Solenoids & Actuators
- Temperature Controls & Related Components
- Bushings
- Hardware, Fasteners & Fittings
- Lower Components
- Motors
- P/S Pump & Hoses
- Power Steering Hoses, Pumps, & Related Components
- Pump & Hoses
- Sensors
- Shroud, Switches & Levers
- Steering Column
- Steering Column Assembly
- Steering Column Components
- Steering Gear & Linkage
- Steering Wheel
- Steering Wheel & Trim
- Steering, Gear & Related Components
- Alignment
- Auto Leveling Components
- Axle & Differential
- Axle Components
- Brackets, Flanges & Hangers
- Bushings
- Carrier & Front Axles
- Front Suspension
- Hardware, Fasteners & Fittings
- Rear Suspension
- Ride Control
- Sensors
- Shocks & Components
- Shocks & Struts
- Stabilizer Bar & Components
- Suspension Components
- Suspension, Springs & Related Components
- Switches, Solenoids & Actuators
- Wheels
- Aero Ground Effects & Body Kits
- Brackets, Flanges & Hangers
- Bumper
- Bumper & Components - Front
- Bumper & Components - Rear
- Cluster & Switches
- Console
- Control Cables
- Control Modules
- Cowl
- Dashboard
- Door
- Door & Components
- Doors
- Ducts
- Exterior Trim - Fender
- Exterior Trim - Front Door
- Exterior Trim - Pillars
- Exterior Trim - Quarter Panel
- Exterior Trim - Rear Door
- Exterior Trim - Roof
- Exterior Trim - Trunk
- Fender & Components
- Fenders
- Floor
- Floor & Rails
- Frame
- Front Door
- Front Seat Components
- Gaskets & Sealing Systems
- Glass - Front Door
- Glass - Rear Door
- Glass - Windshield
- Glass & Hardware - Back
- Glass, Windows & Related Components
- Glove Box
- Grille
- Grille & Components
- Hardware, Fasteners & Fittings
- Hood
- Hood & Components
- Horns
- Information Labels
- Inner Structure
- Instrument Panel
- Interior Trim
- Interior Trim - Front Door
- Interior Trim - Pillars
- Interior Trim - Quarter Panels
- Interior Trim - Rear Body
- Interior Trim - Rear Door
- Interior Trim - Roof
- Interior Trim - Trunk
- Labels
- Lid & Components
- Lock & Hardware
- Master Cylinder - Components On Dash Panel
- Mirrors
- Outside Mirrors
- Quarter Panel
- Quarter Panel & Components
- Radiator Support
- Rear Body
- Rear Door
- Rear Floor & Rails
- Rear Seat Components
- Reveal Moldings
- Rocker Panel
- Roof
- Roof & Components
- Seat Belt
- Seats
- Sensors
- Side Pillar
- Sound System
- Splash Shields
- Steering Wheel
- Structural Components & Rails
- Sunroof
- Switches, Solenoids & Actuators
- Tracks & Components
- Trunk Lid & Compartment
- Uniside
- Universal
- Vacuum Controlled Components
- Wiper & Washer Components
- ABS Components
- Anti-Lock Brakes
- Brackets, Flanges & Hangers
- Brake Components
- Brake Hydraulics
- Disc Pads & Brake Shoes
- Drums & Rotors
- Front Brakes
- Gaskets & Sealing Systems
- Hardware, Fasteners & Fittings
- Hoses & Pipes
- Hydraulic System
- Parking Brake
- Rear Brakes
- Relays
- Sensors
- Service Kits
- Stability Control
- Traction Control
- ABS Components
- Air Bag Components
- Air Bag System
- Alarm System
- Alternator
- Alternator/Generator & Related Components
- Antenna & Radio
- Anti-Theft Components
- Anti-Theft System
- Battery
- Battery & Related Components
- Brackets, Flanges & Hangers
- Bulbs - Chassis
- Control Modules
- Door
- Electrical Components
- Electrical Sockets
- Flasher Units, Fuses, & Circuit Breakers
- Fog Lamps
- Front Seat Belts
- Fuse & Relay
- Gaskets & Sealing Systems
- Glass, Windows & Related Components
- Hardware, Fasteners & Fittings
- Headlamp Components
- Headlamp Washers/Wipers
- Heated Seats
- High Mounted Stop Lamp
- Horn
- Ignition Lock
- Ignition System
- License Lamps
- Lighting - Exterior
- Lighting - Instrumentation
- Lighting - Interior
- Mirrors
- Mobile Multi-Media
- Power Outlets
- Power Seats
- Powertrain Control
- Rear Door
- Rear Seat Belts
- Relays
- Ride Control Components
- Senders
- Sensors
- SIDE MARKER LAMPS
- Signal Lamps
- Starter
- Starter & Related Components
- Steering Wheel
- Sunroof
- Switches
- Switches, Solenoids & Actuators
- Tail Lamps
- Trunk
- Voltage Regulator
- Washer Components
- Wipers
- A/C Accumulator/Receiver Drier
- A/C Clutch & Compressor
- A/C Condenser & Evaporator
- A/C Flow Restrictors
- Automatic Temperature Controls
- Blower Motor & Fan
- Brackets, Flanges & Hangers
- Condenser Fan
- Condenser, Compressor & Lines
- Evaporator & Heater Components
- Filters
- Hardware, Fasteners & Fittings
- Heater
- Heater Components
- Hoses & Pipes
- HVAC Case
- Information Labels
- Motors, Core, Case & Related Components
- Sensors
- Switches, Solenoids & Actuators
- Temperature Controls & Related Components
- Bushings
- Hardware, Fasteners & Fittings
- Lower Components
- Motors
- P/S Pump & Hoses
- Power Steering Hoses, Pumps, & Related Components
- Pump & Hoses
- Sensors
- Shroud, Switches & Levers
- Steering Column
- Steering Column Assembly
- Steering Column Components
- Steering Gear & Linkage
- Steering Wheel
- Steering Wheel & Trim
- Steering, Gear & Related Components
- Alignment
- Auto Leveling Components
- Axle & Differential
- Axle Components
- Brackets, Flanges & Hangers
- Bushings
- Carrier & Front Axles
- Front Suspension
- Hardware, Fasteners & Fittings
- Rear Suspension
- Ride Control
- Sensors
- Shocks & Components
- Shocks & Struts
- Stabilizer Bar & Components
- Suspension Components
- Suspension, Springs & Related Components
- Switches, Solenoids & Actuators
- Wheels
Browse Categories
Select category
- Aero Ground Effects & Body Kits
- Brackets, Flanges & Hangers
- Bumper
- Bumper & Components - Front
- Bumper & Components - Rear
- Cluster & Switches
- Console
- Control Cables
- Control Modules
- Cowl
- Dashboard
- Door
- Door & Components
- Doors
- Ducts
- Exterior Trim - Fender
- Exterior Trim - Front Door
- Exterior Trim - Pillars
- Exterior Trim - Quarter Panel
- Exterior Trim - Rear Door
- Exterior Trim - Roof
- Exterior Trim - Trunk
- Fender & Components
- Fenders
- Floor
- Floor & Rails
- Frame
- Front Door
- Front Seat Components
- Gaskets & Sealing Systems
- Glass - Front Door
- Glass - Rear Door
- Glass - Windshield
- Glass & Hardware - Back
- Glass, Windows & Related Components
- Glove Box
- Grille
- Grille & Components
- Hardware, Fasteners & Fittings
- Hood
- Hood & Components
- Horns
- Information Labels
- Inner Structure
- Instrument Panel
- Interior Trim
- Interior Trim - Front Door
- Interior Trim - Pillars
- Interior Trim - Quarter Panels
- Interior Trim - Rear Body
- Interior Trim - Rear Door
- Interior Trim - Roof
- Interior Trim - Trunk
- Labels
- Lid & Components
- Lock & Hardware
- Master Cylinder - Components On Dash Panel
- Mirrors
- Outside Mirrors
- Quarter Panel
- Quarter Panel & Components
- Radiator Support
- Rear Body
- Rear Door
- Rear Floor & Rails
- Rear Seat Components
- Reveal Moldings
- Rocker Panel
- Roof
- Roof & Components
- Seat Belt
- Seats
- Sensors
- Side Pillar
- Sound System
- Splash Shields
- Steering Wheel
- Structural Components & Rails
- Sunroof
- Switches, Solenoids & Actuators
- Tracks & Components
- Trunk Lid & Compartment
- Uniside
- Universal
- Vacuum Controlled Components
- Wiper & Washer Components
- ABS Components
- Anti-Lock Brakes
- Brackets, Flanges & Hangers
- Brake Components
- Brake Hydraulics
- Disc Pads & Brake Shoes
- Drums & Rotors
- Front Brakes
- Gaskets & Sealing Systems
- Hardware, Fasteners & Fittings
- Hoses & Pipes
- Hydraulic System
- Parking Brake
- Rear Brakes
- Relays
- Sensors
- Service Kits
- Stability Control
- Traction Control
- ABS Components
- Air Bag Components
- Air Bag System
- Alarm System
- Alternator
- Alternator/Generator & Related Components
- Antenna & Radio
- Anti-Theft Components
- Anti-Theft System
- Battery
- Battery & Related Components
- Brackets, Flanges & Hangers
- Bulbs - Chassis
- Control Modules
- Door
- Electrical Components
- Electrical Sockets
- Flasher Units, Fuses, & Circuit Breakers
- Fog Lamps
- Front Seat Belts
- Fuse & Relay
- Gaskets & Sealing Systems
- Glass, Windows & Related Components
- Hardware, Fasteners & Fittings
- Headlamp Components
- Headlamp Washers/Wipers
- Heated Seats
- High Mounted Stop Lamp
- Horn
- Ignition Lock
- Ignition System
- License Lamps
- Lighting - Exterior
- Lighting - Instrumentation
- Lighting - Interior
- Mirrors
- Mobile Multi-Media
- Power Outlets
- Power Seats
- Powertrain Control
- Rear Door
- Rear Seat Belts
- Relays
- Ride Control Components
- Senders
- Sensors
- SIDE MARKER LAMPS
- Signal Lamps
- Starter
- Starter & Related Components
- Steering Wheel
- Sunroof
- Switches
- Switches, Solenoids & Actuators
- Tail Lamps
- Trunk
- Voltage Regulator
- Washer Components
- Wipers
- A/C Accumulator/Receiver Drier
- A/C Clutch & Compressor
- A/C Condenser & Evaporator
- A/C Flow Restrictors
- Automatic Temperature Controls
- Blower Motor & Fan
- Brackets, Flanges & Hangers
- Condenser Fan
- Condenser, Compressor & Lines
- Evaporator & Heater Components
- Filters
- Hardware, Fasteners & Fittings
- Heater
- Heater Components
- Hoses & Pipes
- HVAC Case
- Information Labels
- Motors, Core, Case & Related Components
- Sensors
- Switches, Solenoids & Actuators
- Temperature Controls & Related Components
- Bushings
- Hardware, Fasteners & Fittings
- Lower Components
- Motors
- P/S Pump & Hoses
- Power Steering Hoses, Pumps, & Related Components
- Pump & Hoses
- Sensors
- Shroud, Switches & Levers
- Steering Column
- Steering Column Assembly
- Steering Column Components
- Steering Gear & Linkage
- Steering Wheel
- Steering Wheel & Trim
- Steering, Gear & Related Components
- Alignment
- Auto Leveling Components
- Axle & Differential
- Axle Components
- Brackets, Flanges & Hangers
- Bushings
- Carrier & Front Axles
- Front Suspension
- Hardware, Fasteners & Fittings
- Rear Suspension
- Ride Control
- Sensors
- Shocks & Components
- Shocks & Struts
- Stabilizer Bar & Components
- Suspension Components
- Suspension, Springs & Related Components
- Switches, Solenoids & Actuators
- Wheels
- Aero Ground Effects & Body Kits
- Brackets, Flanges & Hangers
- Bumper
- Bumper & Components - Front
- Bumper & Components - Rear
- Cluster & Switches
- Console
- Control Cables
- Control Modules
- Cowl
- Dashboard
- Door
- Door & Components
- Doors
- Ducts
- Exterior Trim - Fender
- Exterior Trim - Front Door
- Exterior Trim - Pillars
- Exterior Trim - Quarter Panel
- Exterior Trim - Rear Door
- Exterior Trim - Roof
- Exterior Trim - Trunk
- Fender & Components
- Fenders
- Floor
- Floor & Rails
- Frame
- Front Door
- Front Seat Components
- Gaskets & Sealing Systems
- Glass - Front Door
- Glass - Rear Door
- Glass - Windshield
- Glass & Hardware - Back
- Glass, Windows & Related Components
- Glove Box
- Grille
- Grille & Components
- Hardware, Fasteners & Fittings
- Hood
- Hood & Components
- Horns
- Information Labels
- Inner Structure
- Instrument Panel
- Interior Trim
- Interior Trim - Front Door
- Interior Trim - Pillars
- Interior Trim - Quarter Panels
- Interior Trim - Rear Body
- Interior Trim - Rear Door
- Interior Trim - Roof
- Interior Trim - Trunk
- Labels
- Lid & Components
- Lock & Hardware
- Master Cylinder - Components On Dash Panel
- Mirrors
- Outside Mirrors
- Quarter Panel
- Quarter Panel & Components
- Radiator Support
- Rear Body
- Rear Door
- Rear Floor & Rails
- Rear Seat Components
- Reveal Moldings
- Rocker Panel
- Roof
- Roof & Components
- Seat Belt
- Seats
- Sensors
- Side Pillar
- Sound System
- Splash Shields
- Steering Wheel
- Structural Components & Rails
- Sunroof
- Switches, Solenoids & Actuators
- Tracks & Components
- Trunk Lid & Compartment
- Uniside
- Universal
- Vacuum Controlled Components
- Wiper & Washer Components
- ABS Components
- Anti-Lock Brakes
- Brackets, Flanges & Hangers
- Brake Components
- Brake Hydraulics
- Disc Pads & Brake Shoes
- Drums & Rotors
- Front Brakes
- Gaskets & Sealing Systems
- Hardware, Fasteners & Fittings
- Hoses & Pipes
- Hydraulic System
- Parking Brake
- Rear Brakes
- Relays
- Sensors
- Service Kits
- Stability Control
- Traction Control
- ABS Components
- Air Bag Components
- Air Bag System
- Alarm System
- Alternator
- Alternator/Generator & Related Components
- Antenna & Radio
- Anti-Theft Components
- Anti-Theft System
- Battery
- Battery & Related Components
- Brackets, Flanges & Hangers
- Bulbs - Chassis
- Control Modules
- Door
- Electrical Components
- Electrical Sockets
- Flasher Units, Fuses, & Circuit Breakers
- Fog Lamps
- Front Seat Belts
- Fuse & Relay
- Gaskets & Sealing Systems
- Glass, Windows & Related Components
- Hardware, Fasteners & Fittings
- Headlamp Components
- Headlamp Washers/Wipers
- Heated Seats
- High Mounted Stop Lamp
- Horn
- Ignition Lock
- Ignition System
- License Lamps
- Lighting - Exterior
- Lighting - Instrumentation
- Lighting - Interior
- Mirrors
- Mobile Multi-Media
- Power Outlets
- Power Seats
- Powertrain Control
- Rear Door
- Rear Seat Belts
- Relays
- Ride Control Components
- Senders
- Sensors
- SIDE MARKER LAMPS
- Signal Lamps
- Starter
- Starter & Related Components
- Steering Wheel
- Sunroof
- Switches
- Switches, Solenoids & Actuators
- Tail Lamps
- Trunk
- Voltage Regulator
- Washer Components
- Wipers
- A/C Accumulator/Receiver Drier
- A/C Clutch & Compressor
- A/C Condenser & Evaporator
- A/C Flow Restrictors
- Automatic Temperature Controls
- Blower Motor & Fan
- Brackets, Flanges & Hangers
- Condenser Fan
- Condenser, Compressor & Lines
- Evaporator & Heater Components
- Filters
- Hardware, Fasteners & Fittings
- Heater
- Heater Components
- Hoses & Pipes
- HVAC Case
- Information Labels
- Motors, Core, Case & Related Components
- Sensors
- Switches, Solenoids & Actuators
- Temperature Controls & Related Components
- Bushings
- Hardware, Fasteners & Fittings
- Lower Components
- Motors
- P/S Pump & Hoses
- Power Steering Hoses, Pumps, & Related Components
- Pump & Hoses
- Sensors
- Shroud, Switches & Levers
- Steering Column
- Steering Column Assembly
- Steering Column Components
- Steering Gear & Linkage
- Steering Wheel
- Steering Wheel & Trim
- Steering, Gear & Related Components
- Alignment
- Auto Leveling Components
- Axle & Differential
- Axle Components
- Brackets, Flanges & Hangers
- Bushings
- Carrier & Front Axles
- Front Suspension
- Hardware, Fasteners & Fittings
- Rear Suspension
- Ride Control
- Sensors
- Shocks & Components
- Shocks & Struts
- Stabilizer Bar & Components
- Suspension Components
- Suspension, Springs & Related Components
- Switches, Solenoids & Actuators
- Wheels
No.
Part # / Description / Price
Price
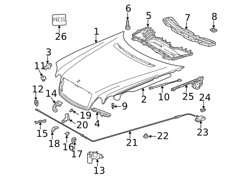
3
Insulator Retainer
Mercedes-Benz
Mercedes-Benz Description: Lower. Without panoramic, headliner & components. 2000-03. 1996-99. #4. Station wagon. #2. Coupe/convertible,.
MSRP $1.70
$1.36
MSRP $1.70
$1.36
4
4
MSRP $8.50
$6.80
7
9
Hood Bumper
Mercedes-Benz
Mercedes-Benz Description: On hood. 2003-06. Sedan,. Inner. 1996-99. 2000-2002, front. 2000-2002, rear. On rad support. Side. Coupe,.
10
MSRP $110.00
$99.00
11
Lock
Mercedes-Benz
Mercedes-Benz Description: E300, e320. Clk320, clk430. E430. 2000-03, upper. 1996-99, upper. E420.
14
MSRP $40.00
$36.00
16
MSRP $3.20
$2.56
17
Release Handle Lock Ring
Mercedes-Benz
Mercedes-Benz Description: 2000-03. 1996-99. Coupe,. Sedan, wagon sedan, wagon,.
MSRP $9.00
$7.20
MSRP $9.00
$7.20
18
MSRP $5.75
$4.60
20
Front Cross-Member Bumper
Mercedes-Benz
Mercedes-Benz Description: Side. 2000-03, front. 1996-99.
MSRP $8.00
$6.40
MSRP $8.00
$6.40
21
22
Release Cable Clamp
Mercedes-Benz
Mercedes-Benz Description: 2000-03. 1996-99. Coupe/convertible,.
MSRP $2.50
$2.00
MSRP $2.50
$2.00
23
Release Handle
Mercedes-Benz
Mercedes-Benz Description: Hood. 2000-03. 1996-99. 1987-93, in car. 1988-93. Coupe/convertible,. Sedan,.
24
MSRP $4.20
$3.36
25
25
26
No.
Part # / Description / Price
Price

