Door & Components for 2021 Mercedes-Benz E350
Vehicle
2021 Mercedes-Benz E350
Change Vehicle
Categories
- Aero Ground Effects & Body Kits
- Aperture Panel
- Body Shell
- Brackets, Flanges & Hangers
- Bumper
- Bumper & Components - Front
- Bumper & Components - Rear
- Bumper Cover
- Cluster & Switches
- Console
- Control Cables
- Control Modules
- Cowl
- Dashboard
- Door & Components
- Doors
- Driver Seat Components
- Ducts
- Electrical Components
- Exterior Trim - Front Door
- Exterior Trim - Lift Gate
- Exterior Trim - Pillars
- Exterior Trim - Rear Door
- EXTERIOR TRIM - ROOF
- Exterior Trim - Trunk
- Exterior Trim - Windshield
- Fender & Components
- Fenders
- Floor
- Floor & Rails
- Frame
- Front Door
- Front Seat Components
- Gaskets & Sealing Systems
- Gate & Hardware
- Glass - Front Door
- Glass - Rear Door
- Glass - Windshield
- Glass & Hardware - Back
- Glass, Windows & Related Components
- Glove Box
- Grille
- Grille & Components
- Hardware, Fasteners & Fittings
- Hood
- Hood & Components
- Horns
- Information Labels
- Inner Structure
- Instrument Panel
- Interior Trim
- Interior Trim - Door
- Interior Trim - Front Door
- Interior Trim - Pillars
- Interior Trim - Quarter Panels
- Interior Trim - Rear Body
- Interior Trim - Rear Door
- Interior Trim - Roof
- Interior Trim - Trunk
- Jack & Components
- Labels
- LID & COMPONENTS
- Lock & Hardware
- Master Cylinder - Components On Dash Panel
- Mirrors
- Outside Mirrors
- Passenger Seat Components
- Quarter Panel
- Quarter Panel & Components
- Radiator Support
- Rear Body
- Rear Bumper
- Rear Console
- Rear Door
- Rear Floor & Rails
- Rear Seat Components
- Rocker
- Rocker Panel
- Roof
- Roof & Components
- Seat Belt
- Seats
- Second Row Seats
- Sensors
- Side Pillar
- Sound System
- Splash Shields
- Spoiler
- Steering Wheel
- Structural Components & Rails
- Sunroof
- Switches, Solenoids & Actuators
- Tracks & Components
- Truck Box
- Trunk
- Trunk Lid & Compartment
- Under Cover & Splash Shields
- Wiper & Washer Components
- ABS Components
- Anti-Lock Brakes
- Body Actuators & Motors
- Body Wiring Harness & Components
- Brackets, Flanges & Hangers
- Brake Components
- Brake Hydraulics
- Disc Pads & Brake Shoes
- Drums & Rotors
- Front Brakes
- Gaskets & Sealing Systems
- Hardware, Fasteners & Fittings
- Hoses & Pipes
- Hydraulic System
- Parking Brake
- Rear Brakes
- Sensors
- Stability Control
- Switches, Solenoids & Actuators
- ABS Components
- Air Bag Components
- Air Bag System
- Alarm System
- Alternator
- Alternator/Generator & Related Components
- Antenna & Radio
- Anti-Theft Components
- Anti-Theft System
- Battery
- Battery & Related Components
- Body Wiring Harness & Components
- Brackets, Flanges & Hangers
- BULBS - CHASSIS
- Communication System Components
- Control Modules
- Control Units
- Controls
- Cruise Control System
- Doors
- Electrical Components
- Electrical Connectors
- Entertainment System Components
- Flasher Units, Fuses, & Circuit Breakers
- Fog Lamps
- Front Door
- Front Seat Belts
- Fuel Door
- Fuse & Relay
- Gaskets & Sealing Systems
- Gauges
- Glass, Windows & Related Components
- Hardware, Fasteners & Fittings
- Headlamp Components
- Heated Seats
- High Mounted Stop Lamp
- Horn
- Ignition Lock
- Ignition System
- Instruments & Gauges
- Keyless Entry Components
- Lane Departure Warning
- License Lamps
- Liftgate
- Lighting - Exterior
- Lighting - Interior
- Mirrors
- Mobile Multi-Media
- Navigation System
- Parking Aid
- Power Outlets
- Power Seats
- Powertrain Control
- Rear Door
- Rear Seat Belts
- Relays
- Ride Control Components
- Seat Belt
- Second Row Seat Belts
- Senders
- Sensors
- SIDE MARKER LAMPS
- Starter
- Starter & Related Components
- Steering Wheel
- Sunroof
- Switches
- Switches, Solenoids & Actuators
- Tail Lamps
- Tire Pressure Monitor Components
- Trunk
- Trunk Lid & Compartment
- Voltage Regulator
- Wipers
- Wiring Harness
- Air Intake
- Bearings
- Brackets, Flanges & Hangers
- Bushings
- Control Modules
- Cylinder Block Components
- Engine
- Engine & Trans Mounting
- Engine Appearance Cover
- Engine Parts
- Filters
- Gaskets & Sealing Systems
- Hardware, Fasteners & Fittings
- Mounts
- Oil Cooler
- Oil Pan
- Oil Pump
- Sensors
- Switches, Solenoids & Actuators
- Turbocharger & Components
- Valve Train Components
- Wire, Cable & Related Components
- A/C Accumulator/Receiver Drier
- A/C Clutch & Compressor
- A/C Condenser & Evaporator
- A/C Flow Restrictors
- Automatic Temperature Controls
- Auxiliary Heater & AC
- Blower Motor & Fan
- Brackets, Flanges & Hangers
- Condenser, Compressor & Lines
- Control Modules
- Controls
- Evaporator & Heater Components
- Filters
- Gaskets & Sealing Systems
- Hardware, Fasteners & Fittings
- Heater
- Hoses & Pipes
- HVAC Case
- Information Labels
- Motors, Core, Case & Related Components
- Sensors
- Switches & Sensors
- Switches, Solenoids & Actuators
- Temperature Controls & Related Components
- Wire, Cable & Related Components
- Auto Leveling Components
- Axle & Differential
- Axle Components
- Bearings
- Brackets, Flanges & Hangers
- Bushings
- Carrier & Front Axles
- Drive Axles
- Drive Shaft
- Electrical Connectors
- Front Suspension
- Hardware, Fasteners & Fittings
- Rear Suspension
- Ride Control
- Ride Control Components
- Sensors
- Shocks & Components
- Shocks & Struts
- Stabilizer Bar & Components
- Struts & Components
- Suspension Components
- Suspension Mounting
- Suspension, Springs & Related Components
- Upper Control Arm
- Valves
- Wheels
- Aero Ground Effects & Body Kits
- Aperture Panel
- Body Shell
- Brackets, Flanges & Hangers
- Bumper
- Bumper & Components - Front
- Bumper & Components - Rear
- Bumper Cover
- Cluster & Switches
- Console
- Control Cables
- Control Modules
- Cowl
- Dashboard
- Door & Components
- Doors
- Driver Seat Components
- Ducts
- Electrical Components
- Exterior Trim - Front Door
- Exterior Trim - Lift Gate
- Exterior Trim - Pillars
- Exterior Trim - Rear Door
- EXTERIOR TRIM - ROOF
- Exterior Trim - Trunk
- Exterior Trim - Windshield
- Fender & Components
- Fenders
- Floor
- Floor & Rails
- Frame
- Front Door
- Front Seat Components
- Gaskets & Sealing Systems
- Gate & Hardware
- Glass - Front Door
- Glass - Rear Door
- Glass - Windshield
- Glass & Hardware - Back
- Glass, Windows & Related Components
- Glove Box
- Grille
- Grille & Components
- Hardware, Fasteners & Fittings
- Hood
- Hood & Components
- Horns
- Information Labels
- Inner Structure
- Instrument Panel
- Interior Trim
- Interior Trim - Door
- Interior Trim - Front Door
- Interior Trim - Pillars
- Interior Trim - Quarter Panels
- Interior Trim - Rear Body
- Interior Trim - Rear Door
- Interior Trim - Roof
- Interior Trim - Trunk
- Jack & Components
- Labels
- LID & COMPONENTS
- Lock & Hardware
- Master Cylinder - Components On Dash Panel
- Mirrors
- Outside Mirrors
- Passenger Seat Components
- Quarter Panel
- Quarter Panel & Components
- Radiator Support
- Rear Body
- Rear Bumper
- Rear Console
- Rear Door
- Rear Floor & Rails
- Rear Seat Components
- Rocker
- Rocker Panel
- Roof
- Roof & Components
- Seat Belt
- Seats
- Second Row Seats
- Sensors
- Side Pillar
- Sound System
- Splash Shields
- Spoiler
- Steering Wheel
- Structural Components & Rails
- Sunroof
- Switches, Solenoids & Actuators
- Tracks & Components
- Truck Box
- Trunk
- Trunk Lid & Compartment
- Under Cover & Splash Shields
- Wiper & Washer Components
- ABS Components
- Anti-Lock Brakes
- Body Actuators & Motors
- Body Wiring Harness & Components
- Brackets, Flanges & Hangers
- Brake Components
- Brake Hydraulics
- Disc Pads & Brake Shoes
- Drums & Rotors
- Front Brakes
- Gaskets & Sealing Systems
- Hardware, Fasteners & Fittings
- Hoses & Pipes
- Hydraulic System
- Parking Brake
- Rear Brakes
- Sensors
- Stability Control
- Switches, Solenoids & Actuators
- ABS Components
- Air Bag Components
- Air Bag System
- Alarm System
- Alternator
- Alternator/Generator & Related Components
- Antenna & Radio
- Anti-Theft Components
- Anti-Theft System
- Battery
- Battery & Related Components
- Body Wiring Harness & Components
- Brackets, Flanges & Hangers
- BULBS - CHASSIS
- Communication System Components
- Control Modules
- Control Units
- Controls
- Cruise Control System
- Doors
- Electrical Components
- Electrical Connectors
- Entertainment System Components
- Flasher Units, Fuses, & Circuit Breakers
- Fog Lamps
- Front Door
- Front Seat Belts
- Fuel Door
- Fuse & Relay
- Gaskets & Sealing Systems
- Gauges
- Glass, Windows & Related Components
- Hardware, Fasteners & Fittings
- Headlamp Components
- Heated Seats
- High Mounted Stop Lamp
- Horn
- Ignition Lock
- Ignition System
- Instruments & Gauges
- Keyless Entry Components
- Lane Departure Warning
- License Lamps
- Liftgate
- Lighting - Exterior
- Lighting - Interior
- Mirrors
- Mobile Multi-Media
- Navigation System
- Parking Aid
- Power Outlets
- Power Seats
- Powertrain Control
- Rear Door
- Rear Seat Belts
- Relays
- Ride Control Components
- Seat Belt
- Second Row Seat Belts
- Senders
- Sensors
- SIDE MARKER LAMPS
- Starter
- Starter & Related Components
- Steering Wheel
- Sunroof
- Switches
- Switches, Solenoids & Actuators
- Tail Lamps
- Tire Pressure Monitor Components
- Trunk
- Trunk Lid & Compartment
- Voltage Regulator
- Wipers
- Wiring Harness
- Air Intake
- Bearings
- Brackets, Flanges & Hangers
- Bushings
- Control Modules
- Cylinder Block Components
- Engine
- Engine & Trans Mounting
- Engine Appearance Cover
- Engine Parts
- Filters
- Gaskets & Sealing Systems
- Hardware, Fasteners & Fittings
- Mounts
- Oil Cooler
- Oil Pan
- Oil Pump
- Sensors
- Switches, Solenoids & Actuators
- Turbocharger & Components
- Valve Train Components
- Wire, Cable & Related Components
- A/C Accumulator/Receiver Drier
- A/C Clutch & Compressor
- A/C Condenser & Evaporator
- A/C Flow Restrictors
- Automatic Temperature Controls
- Auxiliary Heater & AC
- Blower Motor & Fan
- Brackets, Flanges & Hangers
- Condenser, Compressor & Lines
- Control Modules
- Controls
- Evaporator & Heater Components
- Filters
- Gaskets & Sealing Systems
- Hardware, Fasteners & Fittings
- Heater
- Hoses & Pipes
- HVAC Case
- Information Labels
- Motors, Core, Case & Related Components
- Sensors
- Switches & Sensors
- Switches, Solenoids & Actuators
- Temperature Controls & Related Components
- Wire, Cable & Related Components
- Auto Leveling Components
- Axle & Differential
- Axle Components
- Bearings
- Brackets, Flanges & Hangers
- Bushings
- Carrier & Front Axles
- Drive Axles
- Drive Shaft
- Electrical Connectors
- Front Suspension
- Hardware, Fasteners & Fittings
- Rear Suspension
- Ride Control
- Ride Control Components
- Sensors
- Shocks & Components
- Shocks & Struts
- Stabilizer Bar & Components
- Struts & Components
- Suspension Components
- Suspension Mounting
- Suspension, Springs & Related Components
- Upper Control Arm
- Valves
- Wheels
Browse Categories
Select category
- Aero Ground Effects & Body Kits
- Aperture Panel
- Body Shell
- Brackets, Flanges & Hangers
- Bumper
- Bumper & Components - Front
- Bumper & Components - Rear
- Bumper Cover
- Cluster & Switches
- Console
- Control Cables
- Control Modules
- Cowl
- Dashboard
- Door & Components
- Doors
- Driver Seat Components
- Ducts
- Electrical Components
- Exterior Trim - Front Door
- Exterior Trim - Lift Gate
- Exterior Trim - Pillars
- Exterior Trim - Rear Door
- EXTERIOR TRIM - ROOF
- Exterior Trim - Trunk
- Exterior Trim - Windshield
- Fender & Components
- Fenders
- Floor
- Floor & Rails
- Frame
- Front Door
- Front Seat Components
- Gaskets & Sealing Systems
- Gate & Hardware
- Glass - Front Door
- Glass - Rear Door
- Glass - Windshield
- Glass & Hardware - Back
- Glass, Windows & Related Components
- Glove Box
- Grille
- Grille & Components
- Hardware, Fasteners & Fittings
- Hood
- Hood & Components
- Horns
- Information Labels
- Inner Structure
- Instrument Panel
- Interior Trim
- Interior Trim - Door
- Interior Trim - Front Door
- Interior Trim - Pillars
- Interior Trim - Quarter Panels
- Interior Trim - Rear Body
- Interior Trim - Rear Door
- Interior Trim - Roof
- Interior Trim - Trunk
- Jack & Components
- Labels
- LID & COMPONENTS
- Lock & Hardware
- Master Cylinder - Components On Dash Panel
- Mirrors
- Outside Mirrors
- Passenger Seat Components
- Quarter Panel
- Quarter Panel & Components
- Radiator Support
- Rear Body
- Rear Bumper
- Rear Console
- Rear Door
- Rear Floor & Rails
- Rear Seat Components
- Rocker
- Rocker Panel
- Roof
- Roof & Components
- Seat Belt
- Seats
- Second Row Seats
- Sensors
- Side Pillar
- Sound System
- Splash Shields
- Spoiler
- Steering Wheel
- Structural Components & Rails
- Sunroof
- Switches, Solenoids & Actuators
- Tracks & Components
- Truck Box
- Trunk
- Trunk Lid & Compartment
- Under Cover & Splash Shields
- Wiper & Washer Components
- ABS Components
- Anti-Lock Brakes
- Body Actuators & Motors
- Body Wiring Harness & Components
- Brackets, Flanges & Hangers
- Brake Components
- Brake Hydraulics
- Disc Pads & Brake Shoes
- Drums & Rotors
- Front Brakes
- Gaskets & Sealing Systems
- Hardware, Fasteners & Fittings
- Hoses & Pipes
- Hydraulic System
- Parking Brake
- Rear Brakes
- Sensors
- Stability Control
- Switches, Solenoids & Actuators
- ABS Components
- Air Bag Components
- Air Bag System
- Alarm System
- Alternator
- Alternator/Generator & Related Components
- Antenna & Radio
- Anti-Theft Components
- Anti-Theft System
- Battery
- Battery & Related Components
- Body Wiring Harness & Components
- Brackets, Flanges & Hangers
- BULBS - CHASSIS
- Communication System Components
- Control Modules
- Control Units
- Controls
- Cruise Control System
- Doors
- Electrical Components
- Electrical Connectors
- Entertainment System Components
- Flasher Units, Fuses, & Circuit Breakers
- Fog Lamps
- Front Door
- Front Seat Belts
- Fuel Door
- Fuse & Relay
- Gaskets & Sealing Systems
- Gauges
- Glass, Windows & Related Components
- Hardware, Fasteners & Fittings
- Headlamp Components
- Heated Seats
- High Mounted Stop Lamp
- Horn
- Ignition Lock
- Ignition System
- Instruments & Gauges
- Keyless Entry Components
- Lane Departure Warning
- License Lamps
- Liftgate
- Lighting - Exterior
- Lighting - Interior
- Mirrors
- Mobile Multi-Media
- Navigation System
- Parking Aid
- Power Outlets
- Power Seats
- Powertrain Control
- Rear Door
- Rear Seat Belts
- Relays
- Ride Control Components
- Seat Belt
- Second Row Seat Belts
- Senders
- Sensors
- SIDE MARKER LAMPS
- Starter
- Starter & Related Components
- Steering Wheel
- Sunroof
- Switches
- Switches, Solenoids & Actuators
- Tail Lamps
- Tire Pressure Monitor Components
- Trunk
- Trunk Lid & Compartment
- Voltage Regulator
- Wipers
- Wiring Harness
- Air Intake
- Bearings
- Brackets, Flanges & Hangers
- Bushings
- Control Modules
- Cylinder Block Components
- Engine
- Engine & Trans Mounting
- Engine Appearance Cover
- Engine Parts
- Filters
- Gaskets & Sealing Systems
- Hardware, Fasteners & Fittings
- Mounts
- Oil Cooler
- Oil Pan
- Oil Pump
- Sensors
- Switches, Solenoids & Actuators
- Turbocharger & Components
- Valve Train Components
- Wire, Cable & Related Components
- A/C Accumulator/Receiver Drier
- A/C Clutch & Compressor
- A/C Condenser & Evaporator
- A/C Flow Restrictors
- Automatic Temperature Controls
- Auxiliary Heater & AC
- Blower Motor & Fan
- Brackets, Flanges & Hangers
- Condenser, Compressor & Lines
- Control Modules
- Controls
- Evaporator & Heater Components
- Filters
- Gaskets & Sealing Systems
- Hardware, Fasteners & Fittings
- Heater
- Hoses & Pipes
- HVAC Case
- Information Labels
- Motors, Core, Case & Related Components
- Sensors
- Switches & Sensors
- Switches, Solenoids & Actuators
- Temperature Controls & Related Components
- Wire, Cable & Related Components
- Auto Leveling Components
- Axle & Differential
- Axle Components
- Bearings
- Brackets, Flanges & Hangers
- Bushings
- Carrier & Front Axles
- Drive Axles
- Drive Shaft
- Electrical Connectors
- Front Suspension
- Hardware, Fasteners & Fittings
- Rear Suspension
- Ride Control
- Ride Control Components
- Sensors
- Shocks & Components
- Shocks & Struts
- Stabilizer Bar & Components
- Struts & Components
- Suspension Components
- Suspension Mounting
- Suspension, Springs & Related Components
- Upper Control Arm
- Valves
- Wheels
- Aero Ground Effects & Body Kits
- Aperture Panel
- Body Shell
- Brackets, Flanges & Hangers
- Bumper
- Bumper & Components - Front
- Bumper & Components - Rear
- Bumper Cover
- Cluster & Switches
- Console
- Control Cables
- Control Modules
- Cowl
- Dashboard
- Door & Components
- Doors
- Driver Seat Components
- Ducts
- Electrical Components
- Exterior Trim - Front Door
- Exterior Trim - Lift Gate
- Exterior Trim - Pillars
- Exterior Trim - Rear Door
- EXTERIOR TRIM - ROOF
- Exterior Trim - Trunk
- Exterior Trim - Windshield
- Fender & Components
- Fenders
- Floor
- Floor & Rails
- Frame
- Front Door
- Front Seat Components
- Gaskets & Sealing Systems
- Gate & Hardware
- Glass - Front Door
- Glass - Rear Door
- Glass - Windshield
- Glass & Hardware - Back
- Glass, Windows & Related Components
- Glove Box
- Grille
- Grille & Components
- Hardware, Fasteners & Fittings
- Hood
- Hood & Components
- Horns
- Information Labels
- Inner Structure
- Instrument Panel
- Interior Trim
- Interior Trim - Door
- Interior Trim - Front Door
- Interior Trim - Pillars
- Interior Trim - Quarter Panels
- Interior Trim - Rear Body
- Interior Trim - Rear Door
- Interior Trim - Roof
- Interior Trim - Trunk
- Jack & Components
- Labels
- LID & COMPONENTS
- Lock & Hardware
- Master Cylinder - Components On Dash Panel
- Mirrors
- Outside Mirrors
- Passenger Seat Components
- Quarter Panel
- Quarter Panel & Components
- Radiator Support
- Rear Body
- Rear Bumper
- Rear Console
- Rear Door
- Rear Floor & Rails
- Rear Seat Components
- Rocker
- Rocker Panel
- Roof
- Roof & Components
- Seat Belt
- Seats
- Second Row Seats
- Sensors
- Side Pillar
- Sound System
- Splash Shields
- Spoiler
- Steering Wheel
- Structural Components & Rails
- Sunroof
- Switches, Solenoids & Actuators
- Tracks & Components
- Truck Box
- Trunk
- Trunk Lid & Compartment
- Under Cover & Splash Shields
- Wiper & Washer Components
- ABS Components
- Anti-Lock Brakes
- Body Actuators & Motors
- Body Wiring Harness & Components
- Brackets, Flanges & Hangers
- Brake Components
- Brake Hydraulics
- Disc Pads & Brake Shoes
- Drums & Rotors
- Front Brakes
- Gaskets & Sealing Systems
- Hardware, Fasteners & Fittings
- Hoses & Pipes
- Hydraulic System
- Parking Brake
- Rear Brakes
- Sensors
- Stability Control
- Switches, Solenoids & Actuators
- ABS Components
- Air Bag Components
- Air Bag System
- Alarm System
- Alternator
- Alternator/Generator & Related Components
- Antenna & Radio
- Anti-Theft Components
- Anti-Theft System
- Battery
- Battery & Related Components
- Body Wiring Harness & Components
- Brackets, Flanges & Hangers
- BULBS - CHASSIS
- Communication System Components
- Control Modules
- Control Units
- Controls
- Cruise Control System
- Doors
- Electrical Components
- Electrical Connectors
- Entertainment System Components
- Flasher Units, Fuses, & Circuit Breakers
- Fog Lamps
- Front Door
- Front Seat Belts
- Fuel Door
- Fuse & Relay
- Gaskets & Sealing Systems
- Gauges
- Glass, Windows & Related Components
- Hardware, Fasteners & Fittings
- Headlamp Components
- Heated Seats
- High Mounted Stop Lamp
- Horn
- Ignition Lock
- Ignition System
- Instruments & Gauges
- Keyless Entry Components
- Lane Departure Warning
- License Lamps
- Liftgate
- Lighting - Exterior
- Lighting - Interior
- Mirrors
- Mobile Multi-Media
- Navigation System
- Parking Aid
- Power Outlets
- Power Seats
- Powertrain Control
- Rear Door
- Rear Seat Belts
- Relays
- Ride Control Components
- Seat Belt
- Second Row Seat Belts
- Senders
- Sensors
- SIDE MARKER LAMPS
- Starter
- Starter & Related Components
- Steering Wheel
- Sunroof
- Switches
- Switches, Solenoids & Actuators
- Tail Lamps
- Tire Pressure Monitor Components
- Trunk
- Trunk Lid & Compartment
- Voltage Regulator
- Wipers
- Wiring Harness
- Air Intake
- Bearings
- Brackets, Flanges & Hangers
- Bushings
- Control Modules
- Cylinder Block Components
- Engine
- Engine & Trans Mounting
- Engine Appearance Cover
- Engine Parts
- Filters
- Gaskets & Sealing Systems
- Hardware, Fasteners & Fittings
- Mounts
- Oil Cooler
- Oil Pan
- Oil Pump
- Sensors
- Switches, Solenoids & Actuators
- Turbocharger & Components
- Valve Train Components
- Wire, Cable & Related Components
- A/C Accumulator/Receiver Drier
- A/C Clutch & Compressor
- A/C Condenser & Evaporator
- A/C Flow Restrictors
- Automatic Temperature Controls
- Auxiliary Heater & AC
- Blower Motor & Fan
- Brackets, Flanges & Hangers
- Condenser, Compressor & Lines
- Control Modules
- Controls
- Evaporator & Heater Components
- Filters
- Gaskets & Sealing Systems
- Hardware, Fasteners & Fittings
- Heater
- Hoses & Pipes
- HVAC Case
- Information Labels
- Motors, Core, Case & Related Components
- Sensors
- Switches & Sensors
- Switches, Solenoids & Actuators
- Temperature Controls & Related Components
- Wire, Cable & Related Components
- Auto Leveling Components
- Axle & Differential
- Axle Components
- Bearings
- Brackets, Flanges & Hangers
- Bushings
- Carrier & Front Axles
- Drive Axles
- Drive Shaft
- Electrical Connectors
- Front Suspension
- Hardware, Fasteners & Fittings
- Rear Suspension
- Ride Control
- Ride Control Components
- Sensors
- Shocks & Components
- Shocks & Struts
- Stabilizer Bar & Components
- Struts & Components
- Suspension Components
- Suspension Mounting
- Suspension, Springs & Related Components
- Upper Control Arm
- Valves
- Wheels
No.
Part # / Description / Price
Price
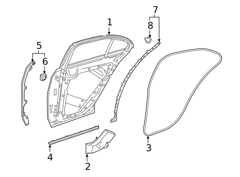
1
Door Shell
Mercedes-Benz
Mercedes-Benz Positions: Left
Description: Sedan, wagon, without e450 wagon.
MSRP $2,060.00
$1,854.00
MSRP $2,060.00
$1,854.00
1
Door Shell
Mercedes-Benz
Mercedes-Benz Positions: Right
Description: Sedan, wagon, without e450 wagon.
MSRP $1,740.00
$1,566.00
MSRP $1,740.00
$1,566.00
2
MSRP $26.00
$20.80
2
MSRP $21.00
$16.80
3
MSRP $22.50
$18.00
3
MSRP $22.50
$18.00
4
MSRP $13.50
$10.80
4
MSRP $12.50
$10.00
5
Door Weather-Strip
Mercedes-Benz
Mercedes-Benz Positions: Left
Description: Suv,. Coupe,. Glk/glc,. Wagon. Convertible,.
MSRP $184.00
$165.60
MSRP $184.00
$165.60
6
MSRP $31.00
$27.90
6
MSRP $37.00
$33.30
7
MSRP $42.50
$38.25
7
MSRP $38.50
$34.65
8
Front Weather-Strip Clip
Mercedes-Benz
Mercedes-Benz Positions: Left
Notes: PARTS: Part included with front seal.
Description: Sedan/wagon, sedan. Coupe/convertible,.
MSRP $1.20
$0.96
MSRP $1.20
$0.96
No.
Part # / Description / Price
Price
1
MSRP $1,760.00
$1,584.00
1
MSRP $1,840.00
$1,656.00
2
MSRP $12.50
$10.00
2
MSRP $13.00
$10.40
4
MSRP $33.50
$30.15
4
MSRP $32.00
$28.80
5
MSRP $32.00
$28.80
5
MSRP $32.50
$29.25
7
MSRP $35.00
$31.50
7
MSRP $37.50
$33.75
8
Cover Panel Clip
Mercedes-Benz
Mercedes-Benz Positions: Left
Notes: PARTS: Part included with rear seal.
Description: To 03/28/24. Sedan, wagon, sedan. Coupe/convertible,.
MSRP $5.25
$4.20
MSRP $5.25
$4.20
No.
Part # / Description / Price
Price
2
Door Weather-Strip
Mercedes-Benz
Mercedes-Benz Positions: Left
Description: Suv,. Coupe,. Glk/glc,. Wagon. Convertible,.
MSRP $184.00
$165.60
MSRP $184.00
$165.60
No.
Part # / Description / Price
Price
3
Door Weather-Strip
Mercedes-Benz
Mercedes-Benz Positions: Right
Description: Suv,. Coupe,. Glk/glc,. Wagon. Convertible,.
MSRP $184.00
$165.60
MSRP $184.00
$165.60



